CPC Definition - Subclass F02K
This place does not cover:
Attention is drawn to the following places, which may be of interest for search:
Arrangement or mounting of jet-propulsion plants in land vehicles or vehicles in general | |
Arrangement or mounting of jet-propulsion plants in waterborne vessels | |
Controlling aircraft attitude, flight direction or altitude by jet reaction | |
Arrangement or mounting of jet-propulsion plants in aircraft | |
Plants characterised by the power of the working fluid being divided between jet propulsion and another form of propulsion, e.g. propeller |
In this subclass the Indexing Code scheme F05D is used as follows:
F05D 2200/00 Mathematical features
F05D 2210/00 Working fluid
F05D 2220/00 Application
F05D 2230/00 Manufacture
F05D 2240/00 Components
F05D 2250/00 Geometry
F05D 2260/00 Function
F05D 2270/00 Control
F05D 2300/00 Materials
In this place, the following terms or expressions are used with the meaning indicated:
Jet-propulsion plants | means plants using combustion to produce a fluid stream from which a propulsive thrust on the plant is obtained on the reaction principle |
Jet pipe | means the exhaust duct of a jet engine that carries the exhaust to the nozzle |
This place covers:
Illustrative example of subject matter classified in this group.

This place does not cover:
Rocket nozzles |
This place does not cover:
Attention is drawn to the following places, which may be of interest for search:
Aerodynamic vectoring surfaces |
This place covers:
Illustrative example of subject matter classified in this group.

This place covers:
Illustrative example of subject matter classified in this group.

This place covers:
Illustrative example of subject matter classified in this group.

This place covers:
Illustrative example of subject matter classified in this group.

This place covers:
Illustrative example of subject matter classified in this group.

This place covers:
Illustrative example of subject matter classified in this group.

This place covers:
Illustrative example of subject matter classified in this group.

This place does not cover:
Varying effective area of jet pip or nozzle by means of pivoted flaps |
This place covers:
Illustrative example of subject matter classified in this group.

This place covers:
Illustrative example of subject matter classified in this group.

This place covers:
Illustrative example of subject matter classified in this group.

This place does not cover:
Two or more series of flaps; One moveable series of flaps hinged to upstream axially moveable structure |
This place covers:
Illustrative example of subject matter classified in this group.

This place covers:
Illustrative example of subject matter classified in this group.

This place covers:
Illustrative example of subject matter classified in this group.

This place covers:
Illustrative example of subject matter classified in this group.

This place covers:
Illustrative example of subject matter classified in this group.

This place covers:
Illustrative example of subject matter classified in this group.

This place covers:
Illustrative example of subject matter classified in this group.

This place covers:
Illustrative example of subject matter classified in this group.

This place covers:
Illustrative example of subject matter classified in this group.

This place covers:
Illustrative example of subject matter classified in this group.

This place covers:
Illustrative example of subject matter classified in this group.

This place does not cover:
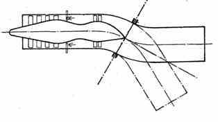
Nozzles having means for dividing the jet into a plurality of partial jets or having an elongated cross-section outlet |
This place covers:
Illustrative example of subject matter classified in this group.

This place covers:
Illustrative example of subject matter classified in this group.

This place covers:
Illustrative example of subject matter classified in this group.

This place covers:
Illustrative example of subject matter classified in this group.

This place covers:
Illustrative example of subject matter classified in this group.

This place covers:
Illustrative example of subject matter classified in this group.

This place covers:
Illustrative example of subject matter classified in this group.

This place covers:
Illustrative example of subject matter classified in this group.

This place covers:
Illustrative example of subject matter classified in this group.

This place covers:
Illustrative example of subject matter classified in this group.

This place covers:
Illustrative example of subject matter classified in this group.

This place covers:
Illustrative example of subject matter classified in this group.

This place covers:
Illustrative example of subject matter classified in this group.

This place covers:
Illustrative example of subject matter classified in this group.

This place covers:
Illustrative example of subject matter classified in this group.

This place covers:
Illustrative example of subject matter classified in this group.

This place covers:
Illustrative example of subject matter classified in this group.

This place covers:
Illustrative example of subject matter classified in this group.

This place covers:
Illustrative example of subject matter classified in this group.

This place covers:
Illustrative example of subject matter classified in this group.

This place covers:
Illustrative example of subject matter classified in this group.

This place covers:
Illustrative example of subject matter classified in this group.

This place covers:
Illustrative example of subject matter classified in this group.

This place covers:
Illustrative example of subject matter classified in this group.

Attention is drawn to the following places, which may be of interest for search:
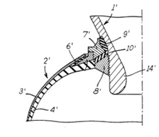
Wall structures in combustion chambers |
This place covers:
Illustrative example of subject matter classified in this group.

This place covers:
Illustrative example of subject matter classified in this group.

Attention is drawn to the following places, which may be of interest for search:
Noise suppression in air intakes | |
Noise attenuators in general |
This place covers:
Mainly ducted gas turbine plants with ducted fans, whereby the main flow which is only slightly compressed by a fan or the like bypasses the core engine; Heating of the bypass flow; Afterburners.
Illustrative example of subject matter classified in this group.

This place covers:
Illustrative example of subject matter classified in this group.

Attention is drawn to the following places, which may be of interest for search:
Turbomachines with counter-rotating rotors | |
Gas turbines having counter-rotating rotors | |
Axial flow pumps for elastic fluids with counter-rotating parts |
This place covers:
Heating of the working fluid, e.g. main working fluid or bypass flow, by heat exchangers or burners. These include after-burners.
Illustrative example of subject matter classified in this group.


This place does not cover:
Control of fuel supply therefor |
Attention is drawn to the following places, which may be of interest for search:
After-burners, combustion chambers |
This place covers:
Plants including an engine, other than a gas turbine, driving a compressor or a ducted fan.
Illustrative example of subject matter classified in this group.

This place does not cover:
Rocket- engine plants, i.e. plants carrying both fuel and oxidant therefor; Control thereof |
In patent documents, the following abbreviations are often used:
Ram jet | Compression of the working fluid caused by the engine's forward motion without a rotary compressor |
Scram jet | Supersonic combustion ram jet |
This place covers:
Rotating rotors rotating due to the reaction force of the jets issued from the rotor.
Illustrative example of subject matter classified in this group.

Attention is drawn to the following places, which may be of interest for search:
With pressure velocity transformation exclusively in rotor, e.g. the rotor rotating under the influence of jets issuing from the rotor | |
Rotating combustion chamber with the working fluid being a combustion product |
This place covers:
Rocket-engine plant related aspects such as solid and liquid propellant rocket plants; Constructional details of the charges; Supply and feeding of propellant; Starting and restarting.
This place covers:
Solid propellant rocket plants.
Illustrative example of subject matter classified in this group.

This place does not cover:
Attention is drawn to the following places, which may be of interest for search:
This place covers:
Solid propellant construction parts and details including: casings, liners, joints, seals, propellant supports, safety devices, and cooling arrangements.
Illustrative example of subject matter classified in this group.

This place covers:
Specific types of liquid or gaseous propellants, e.g. hypergolic propellants, methane, hydrogen peroxide.
This place covers:
Feeding propellants by the use of pumps, e.g. turbo-pumps.
Illustrative example of subject matter classified in this group.

Attention is drawn to the following places, which may be of interest for search:
Control of propellant feed pumps | |
Pumps per se |
This place covers:
Injectors for liquid or gaseous propellants.
Illustrative example of subject matter classified in this group.

Attention is drawn to the following places, which may be of interest for search:
Spraying or atomising in general |
This place covers:
Constructional parts or details of liquid or gaseous propellant rockets such as reservoirs, combustion chambers, decomposition chambers.