CPC Definition - Subclass F02F
Examples of places where the subject matter of this place is covered when specially adapted, used for a particular purpose, or incorporated in a larger system:
This place covers:
All applications of a single piece forming the cylinder and the cylinder head.

This place does not cover:
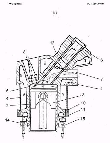
Cylinder heads |
This place covers:
Running-liner and cooling-part of cylinder being different parts or of different material:

Only for air cooled engines, e.g. different materials used for the liners and the cooling fins.
This place covers:
Siamese-type cylinders, i.e. cylinders cast together:

Attention is drawn to the following places, which may be of interest for search:
Arrangement for cooling cylinders or cylinder heads |
This place covers:
All measures taken for combating corrosion in water cooled engines.

Attention is drawn to the following places, which may be of interest for search:
Engines with means for preventing corrosions of gas swept spaces |
Examples of places where the subject matter of this place is covered when specially adapted, used for a particular purpose, or incorporated in a larger system:
Internal-combustion piston engines or combustion engines in general with two or more pistons reciprocating within same cylinder or within essentially coaxial cylinders |
Attention is drawn to the following places, which may be of interest for search:
Mechanisms for driving three or more intake valves per cylinder |
This place covers:
Separate deviation element inside the intake channel. E.g. a butterfly valve or an insert placed just before the valve seat.

This place covers:
Liners in both intake and exhaust channel.

This place does not cover:
Liners in intake channels only | |
Liners in exhaust channels only |
This place covers:
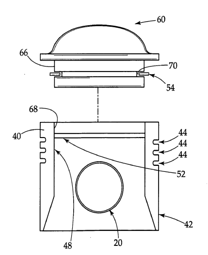
Illustrative example of subject matter classified in this place:

The Figure illustrates a multi-part piston assembly comprising a piston head (60) having a cylindrical member (66) that is inserted into an upper cylindrical opening (68) of a piston body (40) and secured via a locking ring (54) to the piston body (40).
This place covers:
Structural elements in pistons for regulation of heat expansion, e.g. the shape of piston skirt walls or inserts located in the body of pistons.
Attention is drawn to the following places, which may be of interest for search:
Multi-part pistons | |
Pistons being constructed from specific materials |
This place covers:
Illustrative example of subject matter classified in this place:
1a.

1b.

This place covers:
Illustrative example of subject matter classified in this place:
1a.

1b.

This place covers:
Illustrative example of subject matter classified in this place:
1a.

1b.

This place covers:
Structural features, e.g. fins, apertures and arrangements for dissipating heat
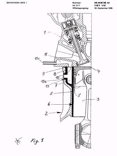
This place covers:
Liquid cooling means:

In patent documents, the following words/expressions are often used as synonyms:
- "cooling channel cover" and "ring carrier"
This place covers:
Combustion engine casings, e.g. crankcases or frames, e.g. rigid supports for cylinders or crankcases.
Attention is drawn to the following places, which may be of interest for search:
Engine casings in general |
Attention is drawn to the following places, which may be of interest for search:
Oil sump details |
Attention is drawn to the following places, which may be of interest for search:
Acoustic insulation for internal-combustion piston engines or combustion engines in general |
This place covers:
Arrangement of sealings in combustion engines
This place does not cover:
Piston rings for combustion engines |
Attention is drawn to the following places, which may be of interest for search:
Sealings per se |
Attention is drawn to the following places, which may be of interest for search:
Monolithic pistons, one piece constructions or casting of pistons |


