CPC Definition - Subclass D04C
This place covers:
Planar fabric or elongate bulk structure braiding machines. These aspects are covered by the main groups D04C 3/00 and D04C 5/00
Circular braiding machines producing filled or hollow braids. These aspects are covered by the group D04C 3/40
Details of devices incorporated in braiding machines. These aspects are covered by the groups D04C 3/14 - D04C 3/38 and D04C 3/42 - D04C 3/46
Auxiliary devices for use with braiding machines, e.g. mandrels. These aspects are covered by the group D04C 3/48
Hand braiding or lacing equipment. These aspects are covered by the main group D04C 7/00
Braids or laces made by hand or machines, multiple layer fabrics including at least two inter-braided layers. These aspects are covered by the main group D04C 1/00
This place does not cover:
Laminates comprising at least one braided layer whereby the layers are not inter-braided (i.e. not connected by braiding) |
Attention is drawn to the following places, which may be of interest for search:
Machines for making soles from strips of material | |
Cane working |
Documents should only be classified here if the invention is specifically directed to braids, braiding, lace or lace making. Otherwise the documents should only be classified in the relevant application fields.
In contrast to weaving, braiding in general does not involve warp yarns extending in the lengthwise direction in conjunction with warp interlacing weft yarns always running in a single direction.
This place covers:
Braiding processes or fabrics and bulk structures with specific details on materials and/or braid structure
Braids and braiding processes not otherwise provided for


This place does not cover:
Attention is drawn to the following places, which may be of interest for search:
Braiding of baskets or cane work | |
Wound or wrapped products or winding processes and machines |
In this group, multiple classification is allowed. The classification is desirably complemented by a classification in the indexing scheme D10B 2101/00 - D10B 2509/00 for identifying the thread composition, fabric structure and application field.
Documents also describing braiding machines and devices therefore should additionally be classified in D04C 3/00 or D04C 5/00.
Documents also describing tools or apparatus for braiding or lacing by hand should additionally be classified in D04C 7/00.
Attention is drawn to the following places, which may be of interest for search:
Fibrous reinforcements for composites |
Illustrative example of subject matter classified in D04C 1/02

This place covers:
Braids having a braided configuration specifically adapted for the intended purpose.


Attention is drawn to the following places, which may be of interest for search:
Reinforcements for plastic composites |
Braids of special structure but made from a particular material should be classified only in D04C 1/02.
Attention is drawn to the following places, which may be of interest for search:
Twist net made from wires, e.g. for fences |
This place does not cover:
Knitted lace |
Illustrative example of subject matter classified in D04C 1/10

In this place, the following terms or expressions are used with the meaning indicated:
Pattern tulle fabrics | openwork braids with a predominantly non-uniform arrangement of apertures or distinct yarns. |
This place covers:


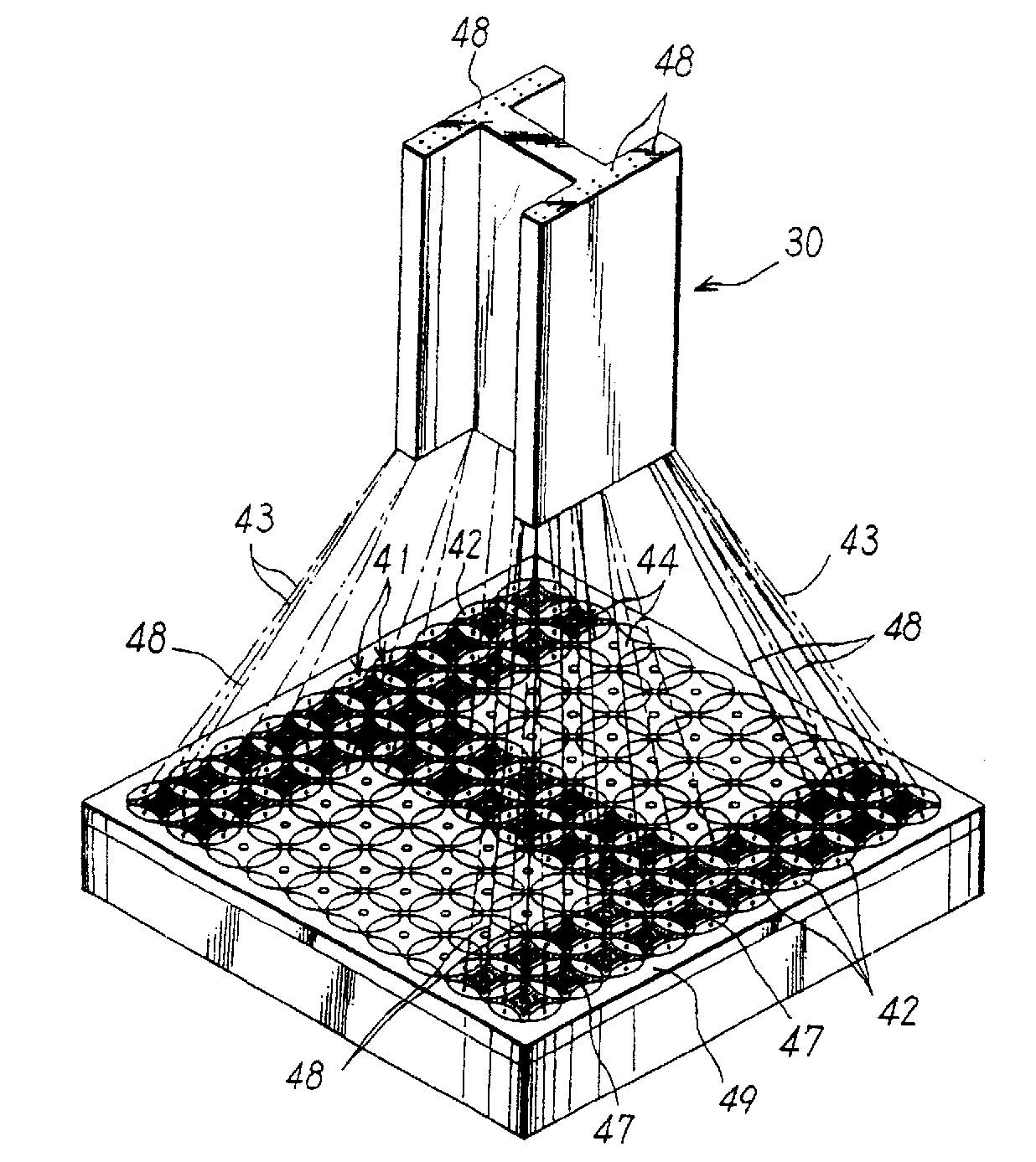
All solid elongated braids in the form of cords, lines or tows having a small but full-cross section, independent from their purpose.
This place does not cover:
Hollow braids or solid bulk braids, e.g. beams |
Attention is drawn to the following places, which may be of interest for search:
Ropes or cables in general |
This place covers:
Braiding or lacing machines for open work, hollow or bulk-braiding and auxiliary devices.
This place covers:
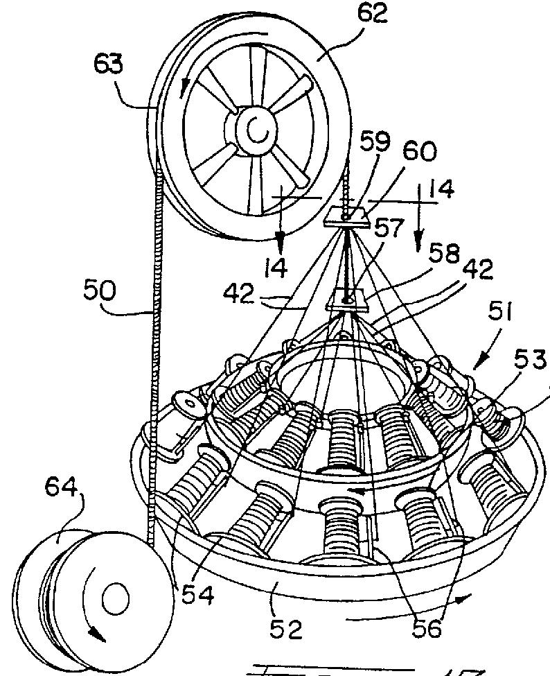
Devices for use with braiding machines, e.g. take-up devices, hoops or mandrels.






