CPC Definition - Subclass B67C
This place covers:
Bottling liquids or semiliquids; Filling jars or cans with liquids or semiliquids using bottling or like apparatus; Filling casks or barrels with liquids or semiliquids (filling containers with liquids or semiliquids using apparatus other than bottling or like apparatus B65B 3/00).
Concurrent cleaning (or sterilizing), filling, and closing of bottles; Processes or devices for at least two of these operations.
Devices for emptying bottles, not otherwise provided for during preparation of alcoholic beverages except beer C12G 1/00.
Funnels, e.g. for liquids (filter funnels B01D 29/085; volume flow-meters G01F).
This place does not cover:
Heat treatment of liquids, i.e. pasteurising or sterilising | |
Disinfecting or sterilising as such of objects | |
Mixing of liquids | |
Filling bags, sacks, cartons, pouches, cups, etc. | |
Filling medical containers such as ampoules, vials, syringes or the like | |
Forming and filling of bottles in a mould | |
Devices for transferring samples or any liquids to, in, or from, the analysis apparatus, e.g. suction devices, injection devices |
Attention is drawn to the following places, which may be of interest for search:
Pasteurising or sterilising of liquids | |
Sterilising or disinfecting of objects: | |
Sorting containers according to e.g. fill level | |
Forming and filling of bottles in a mould | |
Pressurizing filled containers | |
Nozzles with flow cut-off means | |
Preservation of foods in combination with packaging | |
Grippers | |
Safety devices for opening doors or panels | |
Filling of gas bottles | |
Liquid level control in general | |
Measuring volume, or volume flow, in general | |
Weighing of fluids | |
Detection/Investigating the presence of flaws or contamination in a container or its contents | |
Total factory automation | |
Vending machines including the filling of containers (e.g. WO2008037974) |
This place covers:
Bottling liquids or semiliquids; Filling jars or cans with liquids or semiliquids using bottling or like apparatus; Filling casks or barrels with liquids or semiliquids.
Concurrent cleaning (or sterilizing), filling, and closing of bottles; Processes or devices for at least two of these operations.
Devices for emptying bottles, not otherwise provided for during preparation of alcoholic beverages except beer C12G 1/00.
Funnels, e.g. for liquids (filter funnels B01D 29/085; volume flow-meters G01F).
This place does not cover:
Filling containers with liquids or semi-liquids using apparatus other than bottling or like apparatus | |
Detection/Investigating the presence of flaws or contamination in a container or its contents |
Attention is drawn to the following places, which may be of interest for search:
Pasteurising or sterilising of liquids | |
Sterilising or disinfecting of objects | |
Mixing of liquids | |
Sorting containers according to e.g. fill level | |
Grippers | |
Filling bags, sacks, cartons, pouches, cups, etc. | |
Filling medical containers such as ampoules, vials, syringes or the like | |
Forming and filling of bottles in a mould | |
Pressurizing filled containers | |
Nozzles with flow cut-off means | |
Preservation of foods in combination with packaging | |
Safety devices for opening doors or panels | |
Devices for transferring samples or any liquids to, in, or from, the analysis apparatus, e.g. suction devices, injection devices |
Pressure-control in counter-pressure filling classified in B67C 3/12.
Flow control devices classified in B67C 3/28.
Filling heads specially adapted for filling cans are also classified in B67C 2003/2657.
Constructional details of bottling equipment or filling machines are classified in B67C 3/22, e.g. frame or support details, or B67C 3/22, e.g. automatic exchange of components.
Constructional details of filling heads are also classified in B67C 3/26.
Classes B67C 3/2617 and B67C 3/2625 and subgroups also comprise documents not explicitly directed to counter-pressure filling.
This place covers:


This place covers:


This place covers:


This place covers:

This place covers:

This place covers:

This place covers:

This place covers:

This place covers:

This place covers:

This place covers:

This place covers:

This place covers:

Attention is drawn to the following places, which may be of interest for search:
Topping-up containers or receptacles to ensure complete filling | |
Adding fluids for preventing deformation of filled and closed containers |
This place covers:

This place covers:

Attention is drawn to the following places, which may be of interest for search:
Pucks used as container carrier in handling devices such as conveyors |
This place covers:

This place covers:


This place covers:

This place covers:

This place covers:

This place covers:

This place covers:

This place covers:

This place covers:

This place covers:

This place covers:

This place covers:

This place covers:

This place covers:


This place covers:


This place covers:

This place covers:

This place covers:

This place covers:

This place covers:

This place covers:

This place covers:

This place covers:
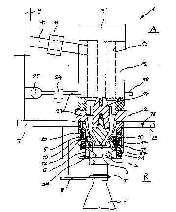
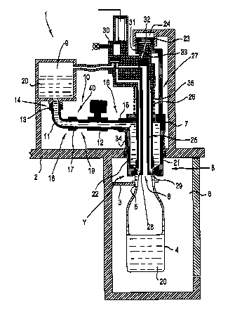
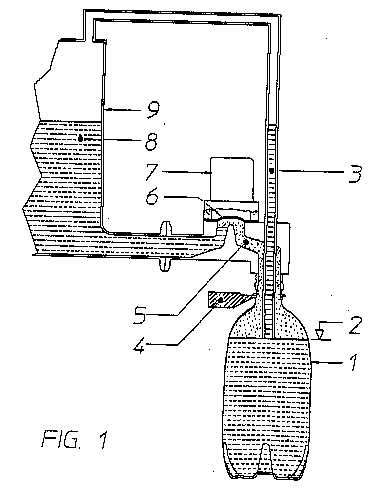
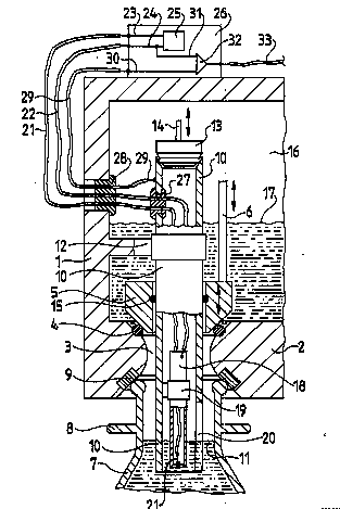
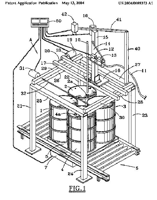
Details of conveying or synchronising.
Sterilising, aseptic filling and closing.
Lever action devices operated by hand or foot.
This place does not cover:
Heat treatment of liquids, i.e. pasteurising or sterilising | |
Details about sterilising processes or apparatuses as such, only in combination with some form of subsequent process in/of a bottling line | |
Disinfecting or sterilising as such of objects | |
Mixing of liquids | |
Forming and filling of bottles in a mould |
Attention is drawn to the following places, which may be of interest for search:
Pasteurising or sterilising of liquids | |
Sterilising or disinfecting of objects | |
Cleaning in general | |
Cleaning of containers | |
Details related to subsequent processes of blow moulding and filling | |
Preservation of foods in combination with packaging | |
Packaging in aseptic tunnels | |
Packaging in aseptic chambers | |
Conveying of containers in general | |
Grippers |
This place covers:

This place covers:


This place covers:

This place covers:

This place covers:
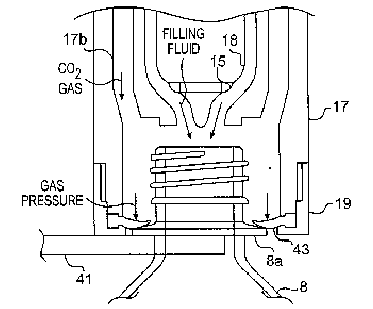
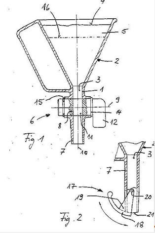
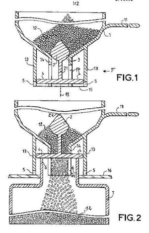
Funnels without discharge valves.
Funnels with non-automatic discharge valves.
Funnels with automatic discharge valves.
Attention is drawn to the following places, which may be of interest for search:
Devices for aerating of wine | |
Funnels for introducing articles or materials in containers or wrappers | |
Filling or draining lubricant of or from machines or engines | |
Measuring spoons or scoops |





































