CPC Definition - Subclass B09C
This place covers:
Different devices and methods of reclaiming contaminated soil.
This place does not cover:
gatherers for removing stone or the like from the soil | |
sterilising soil by steam | |
removing undesirable matter, e.g. rubbish, from the land |
Attention is drawn to the following places, which may be of interest for search:
processes for making harmful chemical substances harmless or less harmful by effecting chemical change in the substance | |
Treatment of water, waste water, sewage or sludge, e.g. separation of contaminants from water | |
cleaning beaches |
In this place, the following terms or expressions are used with the meaning indicated:
Reclamation | the partial or total elimination or the fixing of contaminants in soil. |
This place covers:
Removing contaminants from contaminated soil. Reclamation of contaminated
soil comprising systems and methods generally applicable to any type of
reclamation of contaminated soil.
Example: FR-A1-2872719

This place covers:
Any type of in-situ ground water treatment.
Example: CH-A5-696639

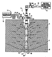
This place covers:
Removing contaminants from contaminated soil by means of soil venting.
Example: US-A1-2009/080979

Attention is drawn to the following places, which may be of interest for search:
Degasification of liquids | |
Degasification of water, waste water, or sewage |
This place covers:
Removing contaminants from contaminated soil by means of contacting the
contaminated soil with a liquid.
Example: DE-A1-4228966

Attention is drawn to the following places, which may be of interest for search:
Extracting solids from liquids | |
Gravity separation of suspended solid particles from liquids | |
Flotation of contaminants from water, waste water, or sewage | |
Extraction of contaminants from water, waste water, or sewage |
This place covers:
Removing contaminants from contaminated soil by means of a thermal
treatment, such as desorbing, volatilizing.
Example: WO-A1-2007046688

Attention is drawn to the following places, which may be of interest for search:
Incinerators for contaminated soil |
This place covers:
Rendering contaminated soil harmless by means of vitrification.
Example: WO-A1-94/04761

This place covers:
Rendering contaminated soil harmless by means of chemical treatment.
Removing contaminants from contaminated soil by means of chemical
treatment. Binding of soil contaminants.
Attention is drawn to the following places, which may be of interest for search:
This place covers:
Electrochemical treatment of contaminated soil.
Example: US-A-5458747

Attention is drawn to the following places, which may be of interest for search:
Electrochemical treatment of water, waste water, or sewage |
This place covers:
Rendering contaminated soil harmless by means of biological treatment.
Removing contaminants from contaminated soil by means of biological
treatment.
Example: US-B1-6796741

Attention is drawn to the following places, which may be of interest for search:
Biological treatment of water, waste water, or sewage |
This place covers:
Removing contaminants from contaminated soil by means of fungi or plants.
Example: US-A1-2004/101945

Attention is drawn to the following places, which may be of interest for search:
Treatment of water, waste water, or sewage using plants |