CPC Definition - Subclass A22B
This place covers:
Devices for collecting, confining, transporting, loading, unloading, guiding and/or leading animals to be slaughtered.
Illustrative examples of subject matter classfied in this group:
US200516462
EP0852115
This place covers:
Slaughtering or stunning of animals.
This place does not cover:
In this place, the following terms or expressions are used with the meaning indicated:
Stunning | Rendering animals immobile or unconscious, without killing the animal, prior to their being slaughtered for food |
This place covers:
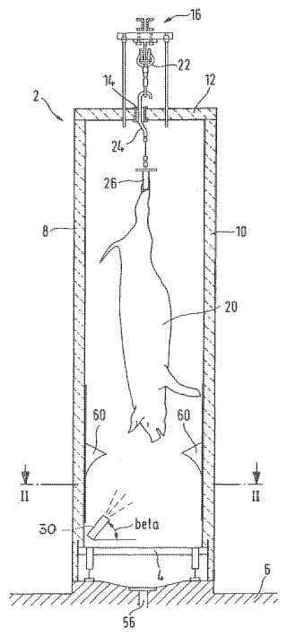
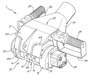
Pistols and cartridges used for stunning and slaughtering of animals. Devices hitting the animal generally on the head with or without penetration.
Illustrative example of subject matter classfied in this group:
US4757627
This place covers:
Masks for animals to be slaughtered, combined or not with stunning arrangements.
This place covers:
Illustrative examples of subject matter classfied in this group:
US2010107986
WO2010133379
This place covers:
Kosher, halal and other ritual slaughtering devices.
Illustrative example of subject matter classfied in this group:
EP2003981
This place covers:
Accessories used during the operations carried out in a slaughterhouse.
This place does not cover:
Cleaning and disinfecting poultry carcasses |
Chilling or lowering the temperature of carcasses A22B 5/0076
Cleaning or disinfecting carcasses A22B 5/0082
Electric stimulation of carcasses A22B 5/0088
This place covers:
Devices for eviscerating slaughtered animals.
Illustrative example of subject matter classfied in this group:
JP9028283
This place does not cover:
Eviscerating poultry | |
Eviscerating fish |
This place covers:
Performing cutting operations on animal carcasses
This place does not cover:
Splitting carcasses | |
Deboning meat |
This place covers:
Illustrative example of subject matter classfied in this group:
EP0743006
This place covers:
Illustrative example of subject matter classfied in this group:
EP1740053
This place covers:
Deboning carcasses and/or obtaining boneless portions of a carcass
This place covers:
Illustrative example of subject matter classfied in this group:

This place covers:
Illustrative example of subject matter classfied in this group:
US2006070502
This place covers:
Illustrative example of subject matter classfied in this group:
EP0849995
This place covers:
Illustrative example of subject matter classfied in this group:
US2004116061
This place covers:
Means and methods for classifying carcasses according to different parameters, including non-invasive scanning of meat or carcasses using image recognition, tomography, x-rays, ultrasound or similar techniques to classify the animal/cut according to its physiological characteristics.
This place does not cover:
Image analysis |
Attention is drawn to the following places, which may be of interest for search:
Analysing meat e.g. searching for foreign embedded objects |
This place covers:
Pens and boxes for supporting, restraining and/or immobilising animals to be slaughtered.
Illustrative example of subject matter classfied in this group:
EP0570851
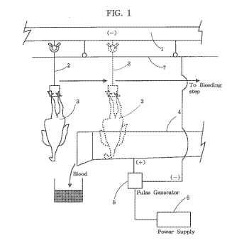
This place covers:
Devices and methods for bleeding slaughtered animals, collecting their blood, or assisting and checking the bleeding process.
Illustrative example of subject matter classfied in this group:
EP0843970
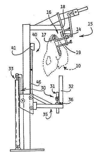
This place covers:
Spreaders and stands for supporting big animals in order to perform slaughtering operations thereon.
Illustrative examples of subject matter classfied in this group:
US2009143001
This class includes spreaders for big game animals, which can be used both indoors and outdoors and that can be portable or not.

US7059956
This place covers:
Scalding or burning the skin of slaughtered animals for dehairing or removing residues. Skin cleaning devices.
Illustrative examples of subject matter classfied in this group:

This place does not cover:
Plucking poultry | |
Scalding or singeing poultry | |
Treatment of hides or skins |
This place covers:
Means for closing the throat, trachea or oesophagus of a carcass animal in order to so as to prevent the contents of the stomach spilling onto the carcass and/or ground when the animal carcass is suspended
Illustrative example of subject matter classfied in this group:


This place covers:
Devices and methods for removing the skin from slaughtered animals
This place does not cover:
Skinning poultry | |
Skinning fish |
Attention is drawn to the following places, which may be of interest for search:
Motor-driven hand tools with disc blades | |
Motor-driven tools with annular blades | |
Disc cutters |
This place covers:
Illustrative example of subject matter classfied in this group:

This place covers:
Illustrative example of subject matter classfied in this group:

This place covers:
Illustrative example of subject matter classfied in this group:

This place covers:
Illustrative example of subject matter classfied in this group:

This place covers:
Illustrative example of subject matter classfied in this group:

This place covers:
Treating in general and cleaning in particular the stomach and intestines of slaughtered animals. Recovering objects (e.g. capsules) thereof and extracting products therefrom. Separating the stomach from the rest of entrails (e.g. extracting poultry gizzards)
This place covers:
Cutting the backbone of a carcass in order to split it in two halves
Illustrative examples of subject matter classfied in this group:

Also includes:
Removing spinal cord and other medullar tissue

Meat saws: band saws, disc saws, reciprocating saws and manual saws

Guides and holders for supporting the carcass during the splitting operation

This place does not cover:
Cutting, dividing or deboning carcasses | |
Splitting of hides |
Attention is drawn to the following places, which may be of interest for search:
Knives |
This place covers:
Further slaughterhouse arrangements not directly related to the operations performed on the carcass
Also comprising mobile slaughtering units
Illustrative example of subject matter classfied in this group:
US5538466
This place does not cover:
Poultry shackles |
Attention is drawn to the following places, which may be of interest for search:
Overhead conveyors |
Conveying arrangements A22B 7/001, comprising also:
gambrels, hooks and other arrangements for suspending carcasses
Illustrative examples of subject matter classfied in this group:
WO0074491
Means for identifying or containing information relative to the carcass or piece of meat that can be attached or are embedded in the conveying means
WO9836645
Means for positioning, orienting and supporting carcasses as they are being conveyed
US3736622
rail configurations and connections for conveying suspended carcasses
GB2111928
hooking, unhooking and transfer means to transfer carcasses from one conveying unit onto a different one
US4838036
Transportation of carcasses by means of trolleys or special vehicles as well as by manual means
FR2648100
This place covers:
Methods and machinery for receiving the viscera and entrails of a carcass
Illustrative example of subject matter classfied in this group:
US4090275
Methods and machinery for cleaning slaughterhouse installations and treating its residues and waste
Illustrative examples of subject matter classfied in this group:
WO2009156972
This place does not cover:
Furnaces for the cremation of carcasses |

