CPC Definition - Subclass A01F
This place covers:
The scope of this subclass is composed of five separate parts, relating to the five parts of the subclass title. For ease of reference each section of these definitions is separated under five corresponding simplified headings: "Threshing", "Baling", "Bundling", "Cutting" and "Storing".
Threshing (relating to main groups A01F 5/00-A01F 12/00 and A01F 17/00-A01F 21/00):
Methods and apparatus for separating grains or seeds from harvested plants or plant parts by mechanical action.
Baling (relating to main groups A01F 13/00-A01F 21/00):
Methods and apparatus for forming bales of straw, hay or like harvested products of plant origin.
Bundling (relating to main group A01F 1/00):
Stationary apparatus or hand tools for forming or binding bundles of straw, hay or like harvested products of plant origin.
Cutting (relating to main groups A01F 3/00 and A01F 29/00):
Apparatus specially adapted for cutting or disintegrating straw, hay or like already harvested products of plant origin.
Storing (relating to main group A01F 25/00):
Mechanical aspects (e.g. material handling aspects) of apparatus (e.g. silos) or methods that are specially adapted for storing harvested agricultural or horticultural crops.
Threshing
Main groups A01F 5/00 - A01F 12/00 and A01F 17/00 - A01F 21/00 provide for threshing devices and for accessories that are directly connected with threshing. Combines and details of combines that are not directly connected with the threshing action (e.g. mowing, feeding or vehicular features) are covered by subclass A01D.
Baling
Main groups A01F 13/00 - A01F 21/00 are application-oriented places for methods or apparatus for baling that are specially adapted for straw, hay or like harvested products of plant origin. Baling of compressible fibrous material in general is provided for in group B65B 27/12. Baling presses in general is provided for in group B30B 9/30. Bales of material are provided for in group B65D 71/00.
Bundling
Main group A01F 1/00 is an application-oriented place for stationary apparatus or hand tools for bundling, which are specially adapted for straw, hay or like harvested products of plant origin. Binding of harvested products by mobile apparatus in the field is provided for in subclass A01D, for example in groups A01D 37/00, A01D 39/00 and A01D 59/00. Bundling of compressible fibrous material in general is provided for in group B65B 27/12. Bundling of articles in general is provided for in group B65B 13/00.
Cutting
Main groups A01F 3/00 and A01F 29/00 are application-oriented places for apparatus or methods that are specially adapted for cutting up or disintegrating straw, hay or like already harvested products of plant origin. Mowing and other cutting down of standing plants is covered by subclasses A01D and A01G. Cutting in general is covered by class B26. Disintegrating in general, e.g. by rotating knives, is covered by subclass B02C.
Storing
Main group A01F 25/00 is an application-oriented place for mechanical aspects (e.g. material handling aspects) of apparatus or methods that are specially adapted for storing harvested agricultural or horticultural crops. Containers for storage of articles or materials in general is covered by subclass B65D. Storing and associated handling of bulk material or articles in general is covered by subclass B65G. Civil-engineering aspects of silos or similar bulk storage containers are covered by section E, for example group E04H 7/00
This place does not cover:
Threshing
Separation of grains or seeds from plants in the place where they grow | |
Combines, i.e. harvesters or mowers combined with threshing devices | |
Combines which thresh before the stalk is cut | |
Field threshers with windrow pick-up apparatus | |
Harvesting of standing crops | |
Picking of fruits, vegetables, hops or the like; Devices for shaking trees or shrubs | |
Delivering mechanisms for harvesters or mowers | |
Elevators or conveyors for binders or combines | |
Accessories for harvesters or mowers | |
Pick-ups for harvested crop | |
Machines for coring or stoning of fruit | |
Machines for removing seed-containing sections from fruit | |
Hulling, husking or cracking of nuts | |
Peeling fruit and removing seed-containing sections | |
Devices for stoning fruit | |
Devices for coring fruit | |
Nutcrackers |
Baling
Arrangements for making or setting stacks | |
Pick-ups for harvested crop |
Bundling
Arrangements for making or setting stacks in connection with harvesting |
Cutting
Cutting or disintegrating in combination with mowing | |
Pick-ups for harvested crop | |
Shredding tea leaves | |
Fodder mashers for preparing animal feeding-stuffs | |
Cutting tobacco | |
Spice mills |
Storing
Arrangements for making or setting stacks, used in connection with harvesting | |
Devices for preserving flowers | |
Arrangements in barns for treatment of tobacco | |
Suspending devices for tobacco leaves | |
Cabinets for perishable goods | |
Fruit or potato storage cabinets, racks or tray for domestic use | |
Closed containers for foodstuffs | |
Drying hops | |
Storing hops | |
Civil engineering aspects of bulk storage containers, e.g. silos |
Examples of places where the subject matter of this place is covered when specially adapted, used for a particular purpose, or incorporated in a larger system:
Baling
Vehicles for carrying harvested crops with bale-forming means additionally used for loading | |
Packing or pressing tobacco |
Bundling
Attention is drawn to the following places, which may be of interest for search:
Threshing
Hulling, husking, decorticating or removing awns otherwise than in connection with threshing | |
Separating solids using pneumatic tables or jigs | |
Separating solids from solids by dry methods, in general | |
Conveying in general |
Baling
Reaper-binders | |
Independent binders, e.g. for hay; Binders attachable to mowers | |
Components of harvesters or mowers for grass or cereals | |
Loaders for bales | |
Vehicles for carrying harvested crops with bale-forming means additionally used for loading | |
Baling presses in general | |
Baling of compressible fibrous material in general | |
Bales of material | |
Conveying in general |
Bundling
Hand-operated baling apparatus | |
Baling presses for straw, hay or the like | |
Reaper-binders for use while harvesting | |
Independent binders, e.g. for hay; Binders attachable to mowers | |
Components of harvesters or mowers for grass or cereals | |
Loaders for sheaves | |
Bundling of articles in general | |
Bundling of compressible fibrous material in general |
Cutting
Mowing | |
Cutting implements specially adapted for horticultural purposes, e.g. flower shears, fruit shears, secateurs or hedge shears | |
Apparatus for destruction of unwanted vegetation | |
Household implements for mashing potatoes or other foodstuffs | |
Disintegrating in general | |
Hand-held cutting tools | |
Cutting in general | |
Conveying in general |
Storing
Protecting growing plants | |
Preservation of plants or parts thereof | |
Preservation of foods or foodstuffs in general | |
Preservation of fruits or vegetables | |
Preservation of edible seeds | |
Preservation of edible oils or fats | |
Preservation of flour or dough before baking by storage in an inert atmosphere | |
Preservation of materials to produce animal feeding stuffs | |
Containers for storage of articles or materials in general | |
Storage and associated handling of bulk material or articles in general | |
Conserving hops | |
Refrigerators, cold rooms or the like | |
Drying in general |
In this place, the following terms or expressions are used with the meaning indicated:
bale | ("bale" as a noun) a compressed, solid package of harvested material, which is either held together by thread or webs or formed by the material itself (with or without additives) to maintain its shape |
bundle | (noun) a relatively loose package of harvested material, normally consisting of straws or stalks that are oriented in parallel to each other. It can either be held together by thread or webs or be formed by the material itself. |
combine | (noun) harvester or mower combined with a threshing device |
harvest | (verb) separate useful parts from growing plants in situ, mow plants or gather whole plants or their useful parts from the ground or from where the plants grow, with the intention to make use of the separated, mown or gathered plant material |
mow | ("mow" as a verb) cut down grass, cereals or other standing plants |
threshing | separation of grains or seeds from harvested plants or plant parts (e.g. cereals, maize/corn, peas, beans or pine cones) by mechanical action (e.g. shaking, stamping, rubbing, beating or applying intermittent pressure) |
Attention is drawn to the following places, which may be of interest for search:
Baling apparatus or presses | |
Mobile binder for use on the field |
This place covers:
As the title describes, documents concerning devices which are hand-operated (i.e. by hand) to cut straw, hay or the like should be classified here.
Illustrated example of subject matter classified in A01F 3/00
Hay Cutter

This place does not cover:
Mechanically-driven straw cutter |
Attention is drawn to the following places, which may be of interest for search:
Cutting in general |
Attention is drawn to the following places, which may be of interest for search:
Threshing devices |
Attention is drawn to the following places, which may be of interest for search:
Devices for protecting human beings |
Any document including canvas or tray to be put on the ground to measure loss of grain must be classified/searched here.
Attention is drawn to the following places, which may be of interest for search:
Grain cleaning |
In this place, the following terms or expressions are used with the meaning indicated:
Screens or sieves | On the walker. |
Attention is drawn to the following places, which may be of interest for search:
Cutting apparatus specially adapted for cutting hay, straw or the like |
Attention is drawn to the following places, which may be of interest for search:
Decorticating or removing awns otherwise than in threshing machines |
Attention is drawn to the following places, which may be of interest for search:
For conveying through pipes or tubes in general |
This place covers:
As the title describes, documents concerning devices which are hand-operated (i.e. by hand) to bale straw, hay or the like should be classified here.
This place covers:
Presses (i.e. machines which are not hand-operated) capable of producing a bale (material on which a substantial compression has been carried out).
Attention is drawn to the following places, which may be of interest for search:
Making compressed stacks | |
Pick-up for balers | |
Pressing in general |
This place covers:
Reducing the size of a bale by re-compressing it after it has been formed a first time.
This place covers:
Devices in which the product is introduced in a box in order to produce a bale, but without compression means which compress the material after its introduction in the box (e.g. rams, compression belts, etc)
Illustrated example of subject matter classified in A01F 15/02
Example from US5193449 by Ransom Woodbury S.

Attention is drawn to the following places, which may be of interest for search:
Plunger presses with press-boxes |
This place covers:
Illustrated example of subject matter classified in A01F 15/04
Example from US4782651 by Hay and Forage Corp.

Attention is drawn to the following places, which may be of interest for search:
Presses using a pressing ram |
If the documents classified in this group (or subgroups) comprise anti-return means, then they must be also indexed in the group A01F 2015/048
This place covers:
Baling devices comprising a plunger which compresses material when moving in either direction.
Illustrated example of subject matter classified in A01F 15/06
Example from FR1381197 by Sperry Rand Corp.

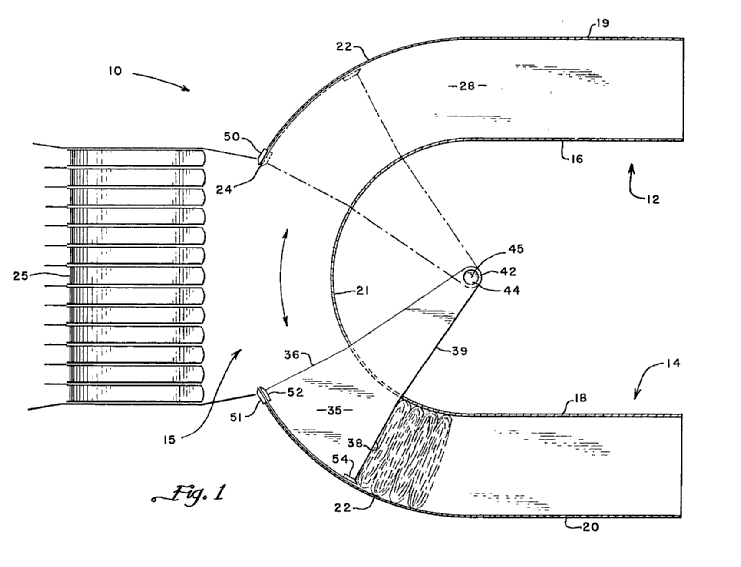
This place covers:
The construction of the rotobaler for the purpose of winding the material in order to form a cylindrical bale. Typically they also bind or wrap the bale once finished, but those aspects are dealt with in other subgroups, in the same way as some other particular aspects of the construction not directily related to the configuration of the baling chamber (e.g drives, feeding devices, etc).
Illustrated example of subject matter classified in A01F 15/07
Example from EP2269440 by CNH Belgium NV

Attention is drawn to the following places, which may be of interest for search:
Pressing in general by means other than rams | |
Crop pelleting or briquetting |
Some special aspects of the documents classified in this group must be also indexed (if applicable) in the groups A01F 2015/077 (chamber formed by belts and rollers), A01F 2015/0775 (fix volume chambers), A01F 2015/078 (chamber delimited only by flexible elements), A01F 2015/0785 (locking means for the chamber), A01F 2015/079 (rollers' sledge) and A01F 2015/0795 (variable volume chambers)
This place covers:
Rotobalers which do not need to stop after having finished a bale before starting a new one.
Example from EP1264532 by Deere&Co.

This place covers:
This group includes wrappers which travel around static bale on a wrapping table or similar.
Example from EP2123145 by Idough Invest Company.

This place does not cover:
Wrappers for groups of bales | |
Machinery for making sausage-like groups of bales by wrapping or bagging |
Attention is drawn to the following places, which may be of interest for search:
Tying devices for bales | |
Wrapping of cylindrical objects |
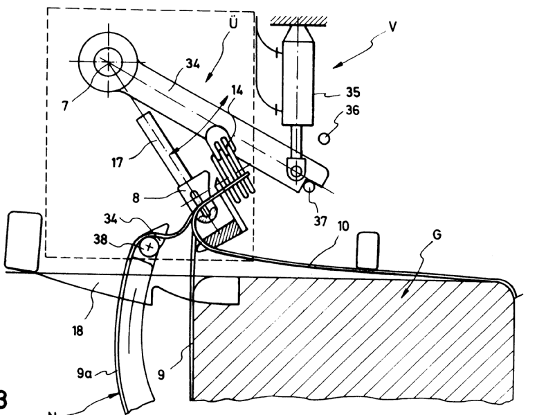
All devices for wrapping bales individually (including square bales) must be classified here, even if they are not integrated in a baler.
Wrapping requires covering, but not necessarily covering 100% of bale surface.
Some special aspects of the documents classified in this group must be also indexed (if applicable) in the groups A01F 2015/0725 (film dispensers), A01F 2015/073 (rotating arms), A01F 2015/0735 (combinations of bale press and wrapper), A01F 2015/074 (discharge), A01F 2015/0745 (wrapping material), A01F 2015/075 (wrapping with open baling chamber), A01F 2015/0755 (wrapping table), and A01F 2015/076 (sensors)
This place covers:
Illustrated example of subject matter classified in A01F 15/0715
Example from EP1707046 by Deere&Co.

If the documents classified in this group include braking means for the film, then they must be also indexed in the group A01F 2015/072 . If they include sensors, then they must also be indexed in the group A01F 2015/076
Attention is drawn to the following places, which may be of interest for search:
Features related to the horizontal rotating arm of a wrapping device of the satellite type |
Attention is drawn to the following places, which may be of interest for search:
Film dispensers for film rollers in a satellite type wrapper, e.g. holding and tensioning means for the film roller |
This place covers:
This head group should only be used for details which do not have a proper group available under the subgroups of this class, and which do not relate to the general principle behind the previous head groups (A01F 15/005, A01F 15/02, etc), but to details of such devices which could be applicable to different types of presses (plunger presses, rotobalers, etc). E.g. a counter of bales mounted on a square baler and based on an image-processing system which detects the bale once dropped on the field.
If the documents classified in this group (or subgroups) include an inclinometer, they must be also indexed in the group A01F 2015/0808
This place covers:
Devices which regulate or control density or shape of a bale which is being produced in a baler.
Attention is drawn to the following places, which may be of interest for search:
Extrusion chambers with adjustable outlet opening |
If the documents classified in this group include a clu tch for the knotter and/or a bale-length measuring device, then they must be also indexed in the group A01F 2015/0866
This place covers:
Devices to discharge a bale from a baler.
Platforms and the like to discharge the bale from the baler onto the field.
Example from EP1935232 by CNH Belgium NV.

If the documents classified in this group (or subgroup) comprises a bale weighing device, then they must be also indexed in the group A01F 2015/0891
This place covers:
Pick-ups, feeding rollers, conveyors, cutters, etc particularly adapted for feeding material to balers.
Example from EP1562739 by AGCO Corp.

Attention is drawn to the following places, which may be of interest for search:
Pick-ups | |
Loaders for loading wagons |
Some special aspects of the documents classified in this group must be also indexed (if applicable) in the groups A01F 2015/107 (withdrawing knives, rotors, walls), and A01F 2015/108 (cutter and counter-cutter)
This place covers:
The feeder which introduces material directly into the pressing chamber at right angle to the compression stroke.
Example from EP1769674 by Usines Class France SAS.

This place does not cover:
Feeding devices for round balers takes precedence |
Some special aspects of the documents classified in this group must be also indexed (if applicable) in the groups A01F 2015/102 (bottom feeding), A01F 2015/103 (side feeding), and A01F 2015/105 (top feeding)
This place covers:
Device for feeding ties in a baler.
E.g. container of twine, tensioning mechanisms at the delivery point of twine, guiding devices.
Example from EP1234495 by Lely Machinenfabrik GmbH.

This place covers:
Devices for tying bales once finished
Includes devices for connecting the ends of binding material around the bale (even if ends are only produced after the material has been cut in order to eject the tied bale).
Illustrative Example of subject matter classified in this subgroup:

Attention is drawn to the following places, which may be of interest for search:
Drives for the tying devices or needles | |
Feeding mechanisms for the ties | |
Devices for displacing twine around a round bale | |
Needles, knotters | |
Independent binders | |
Equipment for binding harvested or mown produce |
Attention is drawn to the following places, which may be of interest for search:
Wrapping devices |
If the documents classified in this group comprise guiding fingers for the twine, then they must be also indexed in the group A01F 15/141
This place covers:
Blocks which separate consecutive bales inside a baler.
Example from FR458020 by Louis Francois Simon.

This place covers:
Endless belts, rolls or the like elements which are used to delimit a pressing chamber in a rotobaler.
Some special aspects of the documents classified in this group must be also indexed (if applicable) in the groups A01F 2015/183 (belts), and A01F 2015/186 (rollers and their bearings)
This place covers:
Conveyors for transporting straw along relatively long distances in order to reach the thresher or baler. E.g. to cover the distance between two machines, or two parts of the machine.
Example from DE1026230 by Arnold Spethmann.

Attention is drawn to the following places, which may be of interest for search:
Feeding devices for balers | |
Conveyors in general |
This place covers:
Bases for threshing machines and balers in order to work in a fixed position on the field, and also levelling devices for ensuring a certain orientation with regards to horizontal.
Example from FR412731 by Gaston Lebled Amilhat.

This place covers:
Devices intended to protect human beings from any risk, including noise protection.
This place does not cover:
Not for safety devices for feeders for threshing apparatus |
Attention is drawn to the following places, which may be of interest for search:
Safety devices for feeders for threshing apparatus | |
Safety devices in combines | |
Safety devices in general |
An application disclosing a baler with a housing surrounding the mechanisms should not be classified here since all balers comprise a housing. Unless the application discloses a new housing which is intended to increase safety according to it (e.g. covering an area which until then was never covered).
Attention is drawn to the following places, which may be of interest for search:
Preservation of plants | |
Preservation of vegetable or fruit | |
Maturing fruit | |
Arrangements in barns for preparatory treatment of tobacco | |
Storing bulk material in general | |
Packing or storing hops | |
Silos built by civil engineering techniques | |
Drying in general |
This group concerns the construction of "basic" or "mechanical" storage places, without artificial refrigeration and without complex chemical preservation.
Not for the chemical aspects of fruit storage which go beyond a simple drying in racks, or beyond ventilation of stacks or silos.
This place covers:
A clamp is characterised by being covered with earth, so it may be "above ground level" but would still be "underground" by definition. It might be for other products than potatoes.
Example from US1629392 by Ballard Killion James

This place covers:
All stacks of loose material (i.e. not stacks from bales)
Attention is drawn to the following places, which may be of interest for search:
Arrangements for making or setting stacks |
This place covers:
Devices for distributing product when creating a haystack.
Attention is drawn to the following places, which may be of interest for search:
Distributing arrangements for forage silos |
Attention is drawn to the following places, which may be of interest for search:
Ventilating arrangements for forage silos | |
Drying solids in general |
This place covers:
All devices for transporting hay racks, including hay racks having means for changing its location and apparatuses for handling hay racks, should be classified in this group.
Attention is drawn to the following places, which may be of interest for search:
Loaders for sheaves and stacks |
This place covers:
Devices for covering harvested produce on one or more sides, but not completely surrounding it. Also for bales which are covered just on the top side.
Example from US2006010783 by Evans Timothy D.

This place does not cover:
Containers which completely surround the harvested produce |
Attention is drawn to the following places, which may be of interest for search:
Containers specially adapted for storing takes precedence | |
Protective coverings for plants |
This place covers:
Containers completely surrounding and enclosing the product, in loose or baled form. E.g. baggers. Wrappers or baggers for groups of bales.
Example 1 from EP1826150 by Tabstar LTD T A Silasock R&D.

Example 2 from US6748724 by SRC Innovations LLC.

This place does not cover:
Wrappers for individual bales |
Attention is drawn to the following places, which may be of interest for search:
Wrapping bales | |
Construction of containers for fluent solids, e.g. silos |
Some special aspects of the documents classified in this group must be also indexed (if applicable) in the groups A01F 2025/142 (for groups of bales), A01F 2025/145 (baggers for loose material), A01F 2025/147 (under vacuum)
Attention is drawn to the following places, which may be of interest for search:
Bagging machines for loose materials making some kind of "sausage" on the field |
Attention is drawn to the following places, which may be of interest for search:
Machinery for making sausage-like groups of bales by wrapping or bagging |
This place covers:
Silos for forage which are made in the ground or above it in order to preserve said forage for future feeding or bedding of cattle.
This place covers:
Silos which are built as a trench in the ground, or between two longitudinal walls above ground level.
Example from EP1166618 by Gilbert Duhamel.

This place covers:
Loading any kind of forage silos, including bags of forage.
Example 1 from US2002168253 by Musser Kenneth D.

Example 2 from US2005097868 by Miller ST Nazianz Inc. 
Attention is drawn to the following places, which may be of interest for search:
Baggers |
This place covers:
Devices for distributing product when loading a forage silo.
Attention is drawn to the following places, which may be of interest for search:
Distributing arrangements for haystacks |
This place covers:
Illustrated example of subject matter classified in A01F 25/2027
Example from FR2776164 by Mailleux SA

Some special aspects of the documents classified in this group must be also indexed (if applicable) in the groups A01F 2025/2045 (transferring conveyor), A01F 2025/2054 (cutting layers), A01F 2025/2063 (shredding layers), A01F 2025/2072 (scoops), A01F 2025/2081 (hydraulics), and A01F 2025/209 (manual tools)
This place covers:
Cutting a complete block out of the forage silo and/or handling such block.
Example from EP087588 by Busatis Werke KG. 
Attention is drawn to the following places, which may be of interest for search:
Apparatus for handling round bales | |
Forks for loads | |
Forks with side clamps |
Attention is drawn to the following places, which may be of interest for search:
Machinery for shredding successive parallel layers of material in a trench silo |
This place covers:
Devices for ventilating product which is stored in forage silos.
Attention is drawn to the following places, which may be of interest for search:
Ventilating means for stacks | |
Drying solids in general |
Attention is drawn to the following places, which may be of interest for search:
Mowers combined with means for cutting up mown crop | |
Cutting machines in general |
Attention is drawn to the following places, which may be of interest for search:
For unrolling round bales |