CPC Definition - Subclass A01C
This place does not cover:
Parts, details or accessories of agricultural machines or implements, in general |
Attention is drawn to the following places, which may be of interest for search:
Combined with general working of soil | |
Horticulture and cultivation in controlled environments or containers | |
Sowing and fertilizing with aircraft | |
Apparatus for spreading sand or salt |
In this place, the following terms or expressions are used with the meaning indicated:
Plant | Any of a kingdom (Plantae) of multicellular eukaryotic mostly photosynthetic organisms typically lacking locomotive movement or obvious nervous or sensory organs and possessing cellulose cell walls. |
Planting | Placement of seed, bulbs or plants into the ground for growth. |
Sowing | Placement of seed into or onto the ground for growth. |
Fertilising | Application of fertiliser into or onto the ground near seed, bulb or plants to stimulate growth. |
This place covers:
General methods and apparatuses for treating seeds, involving mechanical means.
Aspects relating directly to chemical treatments or chemical formulations are classified in the appropriate chemical groups.
Attention is drawn to the following places, which may be of interest for search:
Chemicals for testing or treating seed, roots | |
Irradiation in general | |
Sampling of (parts of) seeds for testing |
Attention is drawn to the following places, which may be of interest for search:
Germinating in preparation of malt |
This place covers:
Testing, but not obtaining samples for testing, whereby the testing for viability is non-destructive.
Attention is drawn to the following places, which may be of interest for search:
Sampling of (parts of) seeds for testing |
This place does not cover:
No chemical compositions or formulas classified in this group. Only the composition in respect of disposition of layers and similar, or materials used.
This place covers:
Mechanical means/machines, e.g. nozzles, used for coating seeds or mechanical aspects of the coating.
Attention is drawn to the following places, which may be of interest for search:
Artificial seeds | |
Chemical coating compositions for seeds |
A01C 1/08 relates to mechanical aspects, such as machines or mechanical means for immunising, using electricity, magnetism, temperature treatments, etc., or the mechanical means for administering a chemical composition. No chemical formulas or compositions are classified in this group.
This place covers:
General methods for treating manure for its specific use as an agricultural input.
Attention is drawn to the following places, which may be of interest for search:
Liquid manure | |
Ploughs with additional arrangements for putting manure under the soil | |
Dung forks | |
Treating of waste water, sewage or sludge | |
Organic fertilisers from waste or refuse |
Attention is drawn to the following places, which may be of interest for search:
Bioreactors and fermenters in general |
Attention is drawn to the following places, which may be of interest for search:
Bioreactors and fermenters with heat exchange systems |
Attention is drawn to the following places, which may be of interest for search:
Bioreactors and fermenters with mixing means |
Attention is drawn to the following places, which may be of interest for search:
Production of methane or biogas | |
Bioreactors and fermenters with production of methane or biogas | |
Coverings for swimming or splash baths or pools |
This place does not cover:
Ploughs for making ridges |
Attention is drawn to the following places, which may be of interest for search:
Agricultural soil working not specifically for these purposes |
Attention is drawn to the following places, which may be of interest for search:
Transplanting devices for trees |
Attention is drawn to the following places, which may be of interest for search:
Devices for laying-out or removing protective coverings for plants |
Attention is drawn to the following places, which may be of interest for search:
Seeders depositing seeds in rows | |
Lifting devices for agricultural machines |
All aspects not covered in subgroups of A01C 5/06 are classified here. A single document can have a group symbol in more than one of the subgroups, if the respective relevant information is covered by them.
Attention is drawn to the following places, which may be of interest for search:
Depth regulating wheels |
Attention is drawn to the following places, which may be of interest for search:
Sowing with centrifugal wheels | |
Arrangement for driving working parts of seeders |
This place covers:
Tool or combinations of tools minimum till sowing techniques.
Attention is drawn to the following places, which may be of interest for search:
Combination of soil working tools for planting |
Specific details about the soil cutting or furrowing tools are additionally classified in the corresponding group under the subclass A01B.
Attention is drawn to the following places, which may be of interest for search:
Fertiliser distributors for hand use | |
Tools for cultivation |
This place covers:
Seeders for planting single seeds at equal intervals typically in laterally spaced rows.
Suction is created by pneumatic means.
Illustrative example of subject matter classified in this group.


This place covers:
Seed singulators operated under pressure of gas or air.
Attention is drawn to the following places, which may be of interest for search:
Aspects of pneumatic seeders not related to the singulating of seeds |
This place covers:
Devices for knocking multiples of seeds from an aperture back into the seed pool such that a single seed remains in the aperture for immediate sowing.
Illustrative example of subject matter classified in this group.


Singulator = 44

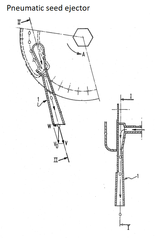
This place covers:
Devices for ejecting seeds from apertures for immediate sowing. This place also includes ejectors for forcefully ejecting seed or debris stuck in apertures.
Illustrative example of subject matter classified in this group.

Ejector = 1


Attention is drawn to the following places, which may be of interest for search:
Conducting and depositing seed | |
Apparatus for two kinds of fertiliser | |
Combinations with soil working tools |
General aspects are classified here. This group symbol must always be combined with the relevant group symbol for the particular invention (distributing system, furrowing tools, regulation, etc.)
Attention is drawn to the following places, which may be of interest for search:
Particular aspects of seed singulating systems using pneumatic means | |
Specific aspects for fertilizer distribution, i.e. distribution of powder fertilisants |
Attention is drawn to the following places, which may be of interest for search:
Non-pneumatic seed pipes |
In this group also the relevant aspects of distribution of granular fertilizer using pneumatic means are classified.
This place covers:
Sensors for counting or detecting the passage of seeds.
Attention is drawn to the following places, which may be of interest for search:
Fertilisers with distributing slots | |
Fertilisers with adjustable shutters or slits | |
Fertilisers with endless chains | |
Centrifugal fertiliser or seed spreaders |
This place covers:
Seeders in which the seeds are downwardly driven only by gravity to the ground.
Illustrative example of subject matter classified in this group.

Deflectors = 70
Attention is drawn to the following places, which may be of interest for search:
Dibble seeders | |
Single-grain seeders | |
Regulation | |
Ridge marking |
This place covers:
Means for adjusting or maintaining a uniform pressure, even if they have an effect on the depth regulation.
Attention is drawn to the following places, which may be of interest for search:
Press wheels |
Attention is drawn to the following places, which may be of interest for search:
Hoppers for seeders or spreaders |
This place covers:
Planting of all types of tubers, bulbs and similar big, round shaped reproductive material.
Attention is drawn to the following places, which may be of interest for search:
Planting by hand | |
Ridge forming tools | A01B 13/02 and A01B 39/14 |
Combinations with soil working tools |
This place does not cover:
Machines or means for transplanting of plants or seedlings into the field, not into pots.
Planting of elongated parts of plants (like sugar cane buds).
Attention is drawn to the following places, which may be of interest for search:
Hand sowing | |
Carriers for supporting persons | |
Transplanting seedlings or plants into pots | |
Transplanting devices for trees |
This place does not cover:
Fertiliser distributors combined with seeders |
Attention is drawn to the following places, which may be of interest for search:
Fertilisers or seeders with centrifugal wheels | |
Arrangements for driving working parts | |
Liquid fertilizers | |
Harrows with special additional arrangements | |
Sand, gravel or salt spreaders for roads |
Control of the distribution rate, elements for pneumatic distribution of granular fertilizers, etc, are identical to the seed regulating or distributing means, and are additionally classified under A01C 7/00, when appropriate.
This place covers:
Both this group and A01C 15/007 cover also hoppers for seed.
Attention is drawn to the following places, which may be of interest for search:
Hand sowing |
This place covers:
Only powder fertilizers, or specific aspects different or not suitable for seeds.
Attention is drawn to the following places, which may be of interest for search:
Aspects of the pneumatic distribution of granular fertilizer |
Attention is drawn to the following places, which may be of interest for search:
Distributors with endless chains |
Attention is drawn to the following places, which may be of interest for search:
Distributors with endless chains |
Attention is drawn to the following places, which may be of interest for search:
Distributors with endless chains |
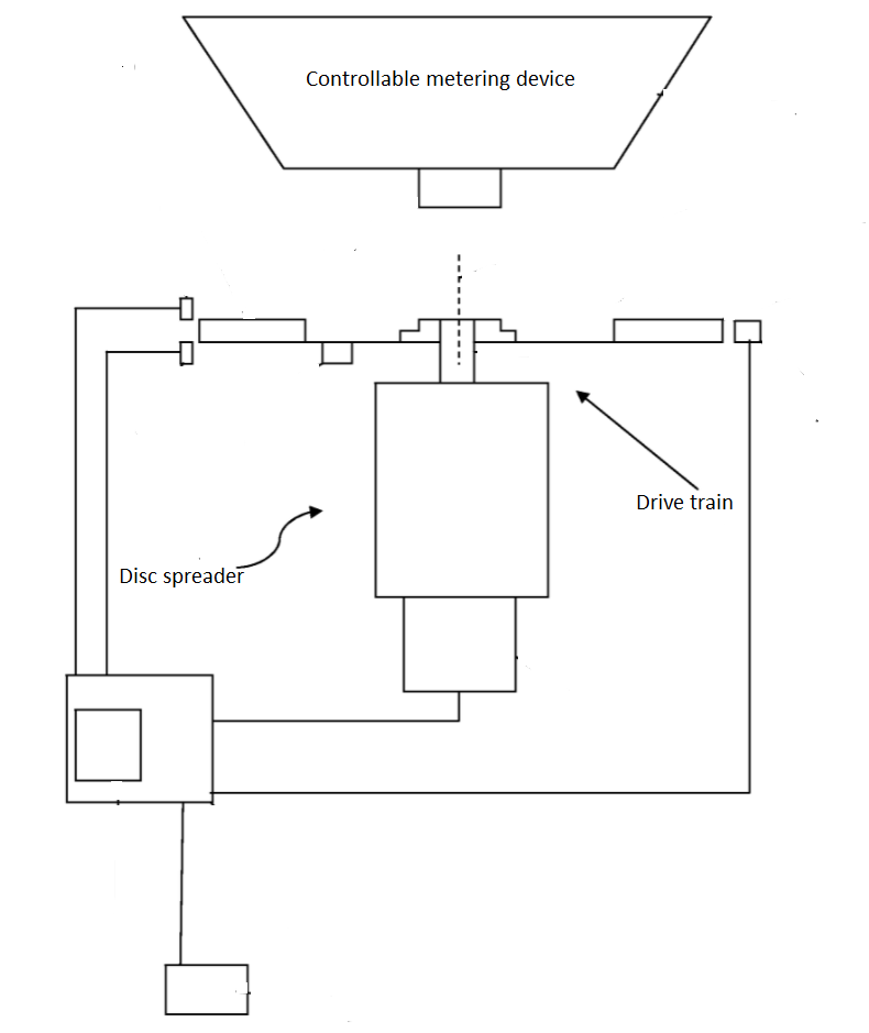
This place covers:
Devices using the outward force of a spinning distributor to spread fertiliser or seed across a generally broad area of ground.
Attention is drawn to the following places, which may be of interest for search:
Hand-used implements | |
Fertilizer distributors | |
Mechanical throwing machines for articles or solid bulk materials, in general | |
Sand, gravel or salt spreaders for roads |
This place covers:
Dosing or regulation of the fertiliser or seed before reaching the rotating disks, i.e. dosing shutters and devices controlling the quantity and location of fertiliser or seed falling onto the rotating disks.
Illustrative example of subject matter classified in this group.


This place covers:
Regulation of the fertiliser or seed on or after the rotating disks, i.e. blades, chutes, plates for directing the flux of fertiliser or seed to the ground in a particular quantity or pattern.
Illustrative example of subject matter classified in this group.


This place does not cover:
Driving mechanisms for centrifugal spreaders |
Also when the driving depends on the forward speed of the machine in general, even if this is not derived from a ground engaging wheel.
This place covers:
Special methods for fertilizing or sowing (like planting patterns or designs), as well as the methods for calculating fertilization requirements.
Attention is drawn to the following places, which may be of interest for search:
Automatic guiding of agricultural machines | |
Precision agriculture | |
Fertilizers | |
Soil-conditioning or soil-stabilising materials |
Attention is drawn to the following places, which may be of interest for search:
Watering fields in general | |
Pulverizers for liquid pesticides | |
Spraying or applying liquids or other fluent materials in general |
Attention is drawn to the following places, which may be of interest for search:
Distribution of liquid ammonia in or on the soil | |
Distribution of liquid fertilisers under pressure |
Attention is drawn to the following places, which may be of interest for search:
Devices for making drill or furrows |
Attention is drawn to the following places, which may be of interest for search:
Sowing granular fertiliser | |
Subirrigation |
Attention is drawn to the following places, which may be of interest for search:
Adding insecticides or herbicides |
Attention is drawn to the following places, which may be of interest for search:
Arrangements for connecting hoses of the quick-acting type |
Attention is drawn to the following places, which may be of interest for search:
Gravity flow | |
W watering gardens, fields, sports grounds or the like |